Известная немецкая фирма Graude представляет пользователям вытяжки самых популярных типов — встраиваемые, настенные, наклонные, купольные. Их преимущество — разумные цены, широкий функционал, высокая мощность и современный дизайн. Отличает их и удобство в установке. Как же установить вытяжку Graude своими руками? Для электрического подключения воздухоочистительного оборудования потребуется отдельная заземленная розетка, доступ к которой ничем не перекрывается. Подключить прибор к электросети и проверить работоспособность рекомендуется до установки его на место.

Монтаж вытяжек с разными конструктивными особенностями
Встраиваемые модели от Грауде — удачный вариант для малогабаритной квартиры. Они устанавливаются в подвесной шкаф на высоте 65-75 см от варочной поверхности для обеспечения максимальной эффективности работы. В шкафу предварительно необходимо вырезать отверстие в соответствии с размерами устройства. Затем следует установить прибор в шкаф, тщательно выровнять и закрепить винтами.

Если планируется работа в режиме рециркуляции, производится установка угольного фильтра, который приобретается дополнительно. Если прибор будет работать в режиме отвода, потребуется подключение воздуховода — гофрированной трубы или пластикового. Один его конец закрепляется на патрубке самого устройства, после чего место крепления аккуратно герметизируется. Второй конец гибкого воздуховода соединяется с вентиляционным отверстием.
Настенные модели также могут устанавливаться с отводом воздуха за пределы здания или без него. В первом случае устройство должно быть подсоединено к системе вентиляции через воздуховод — стальной эмалированный, пластиковый или гибкий гофрированный. Для установки производится разметка будущих отверстий на стене, затем, используя дюбели и винты, крепятся кронштейны для корпуса прибора, которые тщательно выравниваются по вертикали и горизонтали. После этого на патрубок устанавливается обратный клапан и крепится воздуховод, который в зависимости от модели может закрываться декоративным коробом.
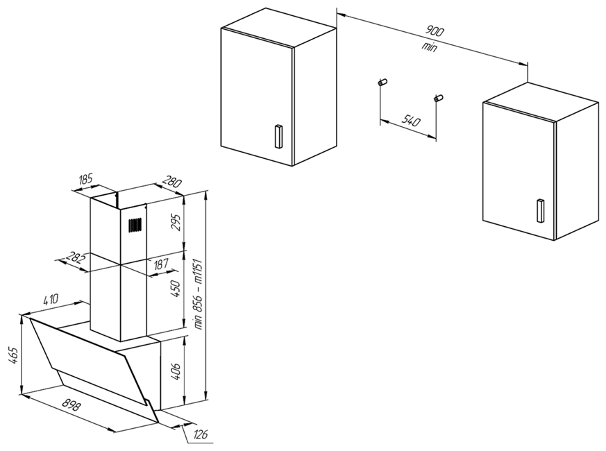
Наклонная модель — разумное сочетание удобства размещения в кухне небольшой площади, высокой производительности и стильного внешнего вида. Эти модели также крепятся к стене: перед этом рекомендуется снять жироулавливающие фильтры, чтобы уменьшить вес прибора.

Также необходимо провести установку антивозвратного клапана, препятствующего проникновению посторонних запахов из системы вентиляции, если он еще не установлен. Предварительно производится разметка отверстий и будущего расположения устройства. Крепление производится аналогично: в стене просверливаются отверстия для крепления кронштейна внутреннего короба и для крепления корпуса, а затем при помощи дюбелей вкручиваются шурупы, на которых будет подвешен прибор.
После установки вытяжки ее необходимо выровнять, а затем плотно затянуть шурупы. После этого производится установка декоративного воздуховода, если предстоит работа в режиме отвода воздуха.

Купольные модели с креплением к стене отличает достаточно объемный и тяжелый купол: работы по их установке лучше выполнять вдвоем. Если предусматривается работа устройства в режиме отвода воздуха, в первую очередь также производится установка антивозвратного клапана.
Затем размечается место установки и по разметке просверливается пять отверстий для крепления крюка и кронштейна внутреннего короба. Отверстия должны располагаться строго горизонтально. При помощи винтов и дюбелей на стене закрепляется крюк для подвешивания корпуса и кронштейн для монтажа внутреннего короба. На выпускном отверстии устанавливается вентиляционная труба: она закрепляется при помощи стяжки для кабелей. Затем необходимо зафиксировать кронштейн внешнего короба и убедиться, что внутренний короб свободно регулируется по высоте.

Купол подвешивается на крюке и фиксируется с помощью предохранительных винтов, а высота внутреннего короба регулируется в соответствии с местом размещения.